炒股就看金麒麟分析师研报,权威,专业,及时,全面,助您挖掘潜力主题机会!
估值曾高达75亿元的网红自热火锅品牌“自嗨锅”,如今走到了破产边缘。
2月8日,红星资本局注意到,“自嗨锅”的关联公司杭州金羚羊企业管理咨询有限公司(以下简称“杭州金羚羊”)近日新增一则破产审查案件。天眼查APP显示,申请人为马某,经办法院为杭州市余杭区人民法院。
“自嗨锅”一度备受资本追捧,曾创下10分钟售500万桶的纪录,还差点被上市公司莲花健康(600186.SH)收购。其创始人蔡红亮曾创立零食品牌“百草味”,2016年卖给“好想你”后套现离场,“自嗨锅”是他第二个明星创业项目。
截至目前,杭州金羚羊已有6条被执行人信息,涉及金额超1.4亿元,蔡红亮也被限制高消费。
不止“自嗨锅”,曾经火爆的自热火锅赛道,正在逐渐“变冷”。
昔日顶流关联公司被申请破产审查
估值曾高达75亿元,差点被上市公司收购
天眼查APP显示,2月5日,“自嗨锅”关联公司杭州金羚羊的一则破产审查案件被公开,案号为(2026)浙0110破申18号,申请人为马某,经办法院为杭州市余杭区人民法院。

图片来自天眼查APP
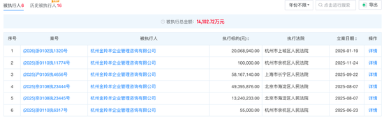
除了上述破产审查案件,红星资本局注意到,杭州金羚羊还有多条被执行人、失信被执行人以及股权冻结信息。
天眼查APP显示,截至目前,杭州金羚羊有6条被执行人信息,被执行金额超过1.4亿元;历史被执行人信息16条,被执行金额超过3.2亿元;失信被执行人信息9条,涉案金额超过5879万元。此外,还有26条股权冻结信息。

图片来自天眼查APP
“自嗨锅”曾是网红自热火锅行业头部品牌,由百草味创始人蔡红亮于2018年创立。蔡红亮曾创立零食品牌“百草味”,2016年卖给“好想你”后套现9.6亿元离场,“自嗨锅”是他第二个明星创业项目。
凭借精准的“一人食”“懒人经济”定位和重广告营销,“自嗨锅”迅速成为当时的市场黑马。2020年,居家需求激增,自嗨锅销量暴涨,成了现象级网红产品。不仅创下10分钟售500万桶的纪录,在当年双十一,其天猫旗舰店更是在短短21分钟内,达到破亿销售额。
风口之下,“自嗨锅”备受资本追捧。红星资本局注意到,2018年至2021年,杭州金羚羊完成五轮融资,总融资金额超5.5亿元。背后不乏知名投资机构,如中金公司、经纬创投、CMC资本、高榕资本等,估值一度飙升至75亿元。
但随着2022年后“宅家”需求锐减,“自嗨锅”声量渐弱。2023年3月,上市公司“味精大王”莲花健康有意收购杭州金羚羊部分股权,但5个月后这笔交易告吹。
此后,“自嗨锅”再出现在大众视线前,便伴随着杭州金羚羊因资金链问题被起诉、强制执行,创始人蔡红亮被“限高”等消息。
曾透露销量腰斩,逐步关停供应链
资金链紧张拖欠千万元广告费
“自嗨锅”为何从顶流陨落?红星资本局注意到,杭州金羚羊的经营状况早已显现出颓势。
2019年至2021年,杭州金羚羊营业收入分别为近8亿元、9.58亿元、9.92亿元,2022年营业收入8.2亿元,下滑近20%。净利润方面,2020年至2021年,杭州金羚羊连续两年亏损,分别为-1.52亿元和-3.18亿元,2022年扭亏为盈,净利润为1993.85万元。
而扭亏为盈的重要原因之一,是杭州金羚羊大幅砍掉了品牌宣传费和运营推广费,这部分一年减少了约2.58亿元。
与此同时,自嗨锅也在短期内将SKU扩至上百个,但销量并没有提升。杭州金羚羊在接受媒体采访时也透露,2021年后其在全国自建了15个工厂。据南都湾财社报道,杭州金羚羊公司相关工作人员表示,“我们原本以为销量会上涨,但是发现销量一下腰斩,目前在供应链这方面逐渐关停。”
加上莲花健康收购告吹,失去关键资本支持。按照当时莲花健康3亿-6亿元收购20%股权的价格来估算,杭州金羚羊估值最高为30亿元,而当时后者净资产仅1.4亿元,溢价率超2000%。这也引来上交所关注,对其高溢价、高费用、盈利持续性发函询问。
资金链紧张的“自嗨锅”开始拖欠广告费。2024年,因拖欠分众传媒1125万元款项,杭州金羚羊被强制执行,公司及法定代表人蔡红亮被法院采取限制消费措施。2023年至今,杭州金羚羊的营利情况再未披露。
对于此次被申请破产审查案件,2月8日,红星资本局联系自嗨锅方面,截至发稿,暂未收到回复。
行业正经历一场“大浪淘沙”
消费者为什么不爱自热火锅了?
不止“自嗨锅”一个品牌,红星资本局注意到,曾经火爆的自热火锅赛道,正在逐渐“变冷”。
近几年,自热火锅市场整体规模持续萎缩。据马上赢统计的方便速食相关数据,2024年第四季度,自热火锅类目增速同比减少25.05个百分点至0.78%,市场份额下滑明显;销售件数也同比下跌了29.18%,销售额同比下跌了32.67%。
另一边,行业集中度变高,头部企业如颐海国际、莫小仙份额提升,自嗨锅等品牌承压。
但在行业压力与市场竞争的双重考验下,头部企业也开始缩减产能。如颐海国际在2023年业绩报告中提到:“由于相关市场需求的变化,方便速食产品的规划产能已调整至2.8万吨”,相当于砍掉了66%的产能。
红星资本局注意到,还有部分企业已经放弃了自热火锅这门生意。如统一企业中国(00220.HK)在2022年下架了“煮时光”自热火锅;卫龙美味(09985.HK)的自热火锅品牌“背锅侠”和“自来熟”辣条火锅已在电商平台搜索不到。
行业遇冷,是多重因素叠加的结果。业内人士表示,自热食品的本质是“特定场景下的应急食品”,近几年,家庭囤货需求消失,外卖和外出就餐回归,使其核心市场被严重挤压。再加上消费者普遍反映口感不如现做食品,且加热过程中有明显塑料味、蒸汽易烫伤等问题;并且价格偏高,缺乏优势。
总的来说,自热火锅行业正经历一场“大浪淘沙”。有市场声音认为,过去依赖资本和营销“催熟”市场的模式已难以为继。未来能深耕供应链、提升产品真价值、并精准满足细分场景需求的品牌,才能走得更远。



发表评论
2026-02-09 06:39:16回复
2026-02-09 05:09:09回复
2026-02-09 04:48:06回复
2026-02-08 23:42:36回复